聯系我們
企業地址:天津市西青經濟技術開發區賽達國際工業城A3-2
企業郵箱:apastj@163.com
聯系電話:022-87887696
企業傳真:請聯系管理員
企業郵編:300385
咨詢熱線:13622125499(24小時服務)
企業郵箱:apastj@163.com
聯系電話:022-87887696
企業傳真:請聯系管理員
企業郵編:300385
咨詢熱線:13622125499(24小時服務)
2040工業鋁型材CAD三維模型下載
艾普斯 丨 2018.10.02 丨 6822
|
||||
| 2040工業鋁型材CAD三維模型 | ||||
|
|
||||
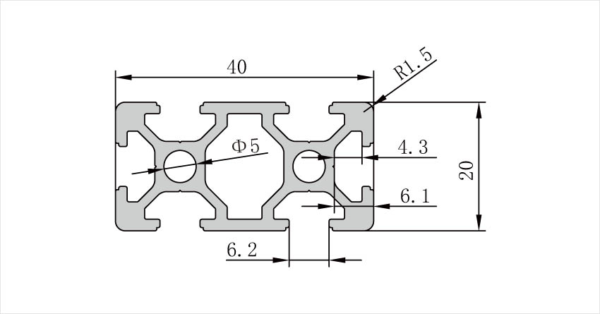
| 2040工業鋁型材主要應用于輕型工業框架的快速搭建,槽寬為6mm,需要結合20系列轉化用連接配件進行快速連接;工程師可以下載2040工業鋁型材CAD三維模型進行框架的構想與實現; | ||||
|
|
||||
|
||||
|
(2040工業鋁型材二維參數)
|
||||
|
規格型號
|
材質
|
單位重量
|
慣性矩
|
慣性矩
|
彎矩
|
彎矩
|
訂貨編號
|
|
Profile
|
Material
|
Weight
|
Ix(cm4)
|
Iy(cm4)
|
Wx(cm3)
|
Wy(cm3)
|
Order NO.
|
|
20×40
|
鋁AL(6063-T5)
|
1.05kg/m
|
1.65
|
6.28
|
1.65
|
3.15
|
APAS-P6-2040
|
|
2040工業鋁型材主要應用于輕型工業框架的設計搭建,如:3D打印機框架、設備防塵/防護罩、工業輔助框架結構等,設計師可以下載2040工業鋁型材CAD三維模型,用于工業框架的構想與實現,20系列工業鋁型材屬于槽6輕型型材,需要選用專用連接配件進行快速連接; |




